ru
en
ro
Acasa
Contacte
Contacte
Despre noi
Noutăți
Despre fabrica
Garantie si calitate
Liniare
Surfilat
Cusaturi de Acoperire
Masini Speciale
Piese de schimb
Search
ru
en
ro
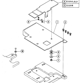
JK-8569 UT
Parts Code
0
Nr.
Description
1
(Русский) Knife holder assemblies
2
(Русский) Knife holder assemblies
3
(Русский) Knife holder assemblies
4
(Русский) Solenoid assemblies
5
(Русский) Solenoid and electric assemblies
6
(Русский) Thread loosing assemblies
7
(Русский) Cloth plate assemblies