ru
en
ro
Home
Contact us
Contact us
About us
News
Jack Info
Guarantee of qualities
Lockstitch
Overlock
Interlock
Special Machine
Spare Parts
Search
ru
en
ro
JK-373
Parts Code
0
Nr.
Description
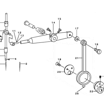
1
Button clamp mechanism components
2
Arm & miscellaneous cover components
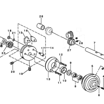
3
Looper shaft mechanism components
4
Nipper & tension parts components
5
Feed plate components
6
Button clamp lifter components
7
Needle driving pulley shaft components
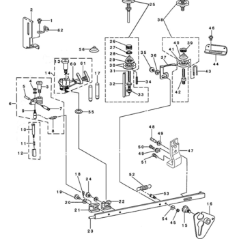
8
Needle bar driving mechanism components
9
Stop motion mechanism components
10
Stitch selecting parts components