ru
en
ro
Acasa
Contacte
Contacte
Despre noi
Noutăți
Despre fabrica
Garantie si calitate
Liniare
Surfilat
Cusaturi de Acoperire
Masini Speciale
Piese de schimb
Search
ru
en
ro
JK-782D
Parts Code
0
Nr.
Description
1
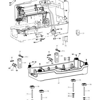
(Русский) FRAME & MISCELLANEOUS COVER
2
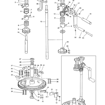
(Русский) MAIN SHAFT COMPONENTS
3
(Русский) HOOK DRIVING SHAFT COMPONENTS
4
(Русский) PRESSER BAR. WORK CLAMP CARRIER COMPONENTS
5
(Русский) NEEDLE BAR FRAME COMPONENTS
6
(Русский) OVEREDGING WIDTH ADJUSTING COMPONENTS
7
(Русский) NEEDLE THREAD TRIMMER COMPONENTS
8
(Русский) BOBBIN THREAD TRIMMER COMPONENTS
9
(Русский) KNIFE BAR COMPONENTS
10
(Русский) FEED CAM & TRIPPING SEGMENT COMPONENTS
11
(Русский) CONTROL BOX COMPONENTS
12
(Русский) SAFE PROTECTION COMPONENTS
13
(Русский) LIFTING LEVER & BOBBIN WINDER COMPONENTS
14
(Русский) THREAD TENSION COMPONENTS
15
(Русский) LUBRICATION MECHANISM COMPONENTS